四川:发生铁路交通事故,分级应对处置(应急响应流程图)
2022年01月20日 23:59:54 来源:川观新闻 记者 王眉灵 编辑:王敏琳
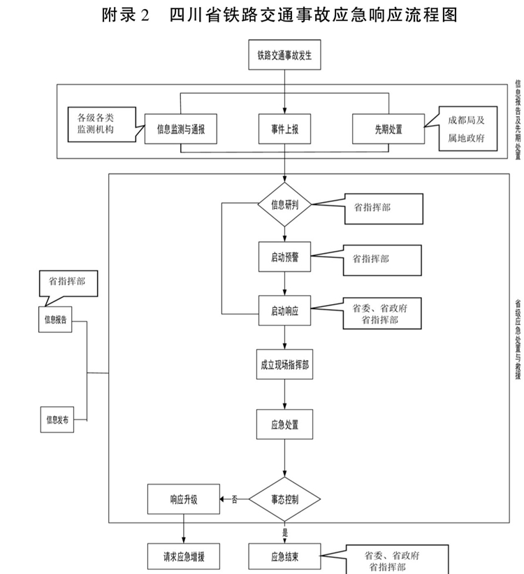
有省内发生或有影响到省内行政区域的铁路交通事故后,如何处置?四川有规范了。近日,省政府印发《四川省处置铁路交通事故应急预案( 试行)》,对此进行明确。

我省依据铁路交通事故可能造成的危害程度、波及范围、影响力大小、人员伤亡、财产损失及中断运营时间等情况,将铁路交通事故分为四个级别,由高到低分别为特别重大、重大、较大、一般。比如,30 人以上死亡,或者 100 人以上重伤(包括急性工业中毒),或者 1 亿元以上直接经济损失的;繁忙干线客运列车脱轨 18 辆以上并中断铁路行车 48 小时以上的;繁忙干线货运列车脱轨 60 辆以上并中断铁路行车 48 小时以上的,属于特别重大事故。
当出现重大铁路交通事故时,实行分级应对。初判发生特别重大、重大事故,由省级层面负责应对;初判发生较大、一般事故,分别由事发地市(州)和县(市、区)层面负责应对,或按照上级组织指挥机构要求具体组织调度。
《预案》明确在省委统一领导下,省政府是全省铁路交通事故应急管理工作的最高行政领导机关。 《预案》还对各相关部门的职能职责进行了明确。
![]() |
